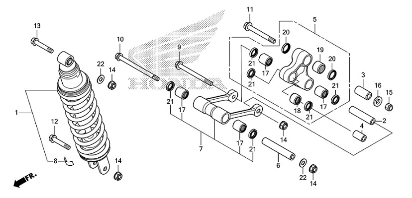
F-27 Rear Cushion

F-27 Rear Cushion
Filters
Set Descending Direction

22 Items

per page
View as Grid List
Filters
Set Descending Direction

22 Items

per page
View as Grid List