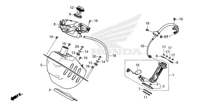
F-24 Fuel Tank