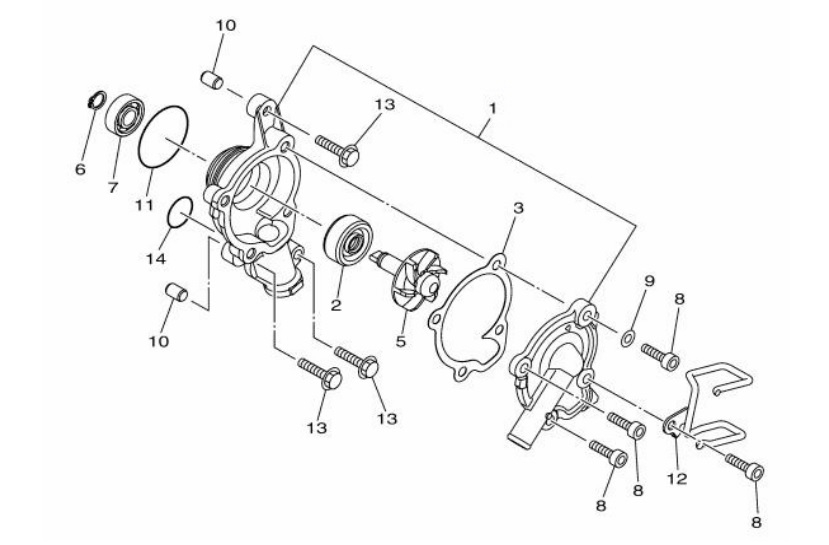
05 Water Pump