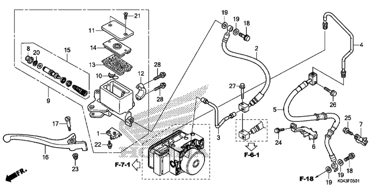
F-5 Front Brake Master Cylinder

F-5 Front Brake Master Cylinder
Filters
Set Descending Direction

30 Items

per page
View as Grid List
Filters
Set Descending Direction

30 Items

per page
View as Grid List